Pesquisar

Como montar e programar o meArm V0.4

Neste tutorial, mostraremos como usar o meArm com a placa Arduino. Incluindo montagem, conexões e programação. Caso queira adquirir o kit meArm pela nossa loja clique aqui.

Sumário

Informações gerais

O meArm é um braço robótico de tamanho de bolso, código aberto, projetado por Ben Gray de Nottingham, Inglaterra. É um ótimo projeto para desenvolver habilidades com cinemática, programação e mecânica.

Peças

  1. 4x Retenções;
  2. Suporte triangular;
  3. Braço maior;
  4. Braço menor;
  5. Corpo da Alavanca;
  6. 4x Espaçadores;
  7. Encaixe com suporte da garra;
  8. Garra direita;
  9. Alavanca de servo maior;
  10. Alavanca de servo menor;
  11. Haste menor;
  12. Encaixe da garra;
  13. 3x Hastes de suporte;
  14. 2x Retenções da garra;
  15. Garra esquerda;
  16. Lateral direita;
  17. Lateral esquerda;
  18. Alavanca central direita;
  19. Base da garra;
  20. Base;
  21. Suporte de servo quadrado;
  22. Alavanca central esquerda;
  23. Base da cabine;
  24. Suporte da alavanca;
  25.  Frente e traseira da cabine;

Parafusos M3:

  1. 15x 8mm
  2. 09x 10mm
  3. 07x 12mm
  4. 04x 20mm
  5. 10x porcas
  1. 4x Servos

Dimensões

Em posição neutra como na imagem ele possuí:

  • Altura: 17,0 cm
  • Comprimento: 21,0 cm
  •  Largura: 9,5 cm

Posicionando os Servos

Os servos precisam ser previamente posicionados para que o controle e amplitude de movimento do braço possam ser feitos de forma correta. Para isso precisaremos conectar o servo ao Arduino e usar o Arduino IDE, caso não saiba como faze-lo clique aqui para ir até nosso post sobre os servos. Caso já tenha sua IDE instalada, siga os passos abaixo.

  1. Conecte o servo ao Arduino da seguinte forma:
  1. Abra o Arduino IDE;
  2. Selecione sua placa Arduino e porta COM correspondente;
  1. Insira o código abaixo e aperte upload;
				
					#include <Servo.h>

Servo servo;

void setup() {
  Serial.begin(9600);
  servo.attach(3);
  servo.write(90);
}

void loop() {
}
				
			
  1. Desconecte o Arduino, troque o servo, conecte novamente e repita este passo para cada servo.

Montagem

Atenção para a montagem! As placas não possuem rosca, os parafusos vão criar uma. Caso parafuse demais os furos das placas podem afrouxar. Tente alinhar os limites das placas aos limites dos parafusos.

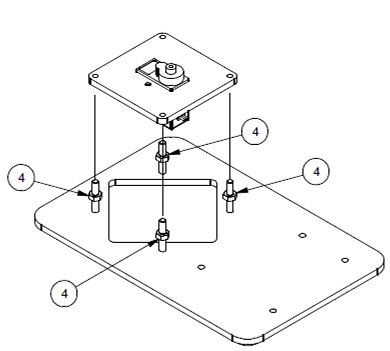
Base

Peças:
  1. Base;
  2. Suporte de servo quadrado;
  3. Retenção de servo;
  4. Servo;
  5. 4x Parafusos de 20mm;
  6. 2x Parafusos de 8mm;
  7. 4x Porcas.
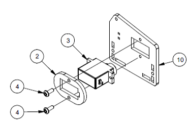
Passo a Passo:
  1. Pegue o suporte (5) a retenção (6) e o servo (7) e monte da seguinte forma inserindo os parafusos de 8mm (8) pela parte de baixo da retenção;
     *Atenção para a orientação dos servos em cada passo.
Passo 1
  1. Posicione a base (1) como mostrado na imagem e insira os 4 parafusos de 20mm (3) pela parte de baixo;
Passo 2
  1. Rosqueie as porcas (4) mas não até o fim;
  2. Parafuse o suporte de servo nos parafusos de 20mm;
  3. Aperte as porcas até o fim.
Passo 3-5

Lateral Esquerda

Peças:
  1. Lateral Esquerda;
  2.  Alavanca de servo maior;
  3. Haste de suporte;
  4. Retenção;
  5. Servo;
  6. Alavanca do servo;
  7. Parafuso curto do servo;
  8. Parafuso longo do servo;
  9.  3x Parafusos 8mm;
  10. 2x Parafusos de 12mm;
  11. 2x Porcas.
Passo a Passo:
Passo 1-3
  1. Coloque o servo (3) no retentor (2);
  2. Encaixe o servo à lateral esquerda (5);
  3. Insira os parafusos de 8mm (4) pela parte de baixo do retentor;
Passo 4
Passo 5
  1. Insira os parafusos de 12mm (10) nos furos da lateral esquerda como mostrado na imagem e rosqueie as porcas (1) parcialmente;
  2.  Encaixe a alavanca do servo (9) na alavanca de servo maior (12) e fixe com o parafuso longo do servo (12);
Passo 6
Passo 7
  1. Conecte a alavanca de servo maior ao servo na posição da foto e assegure-o com o parafuso curto do servo;
  2. Use um dos parafusos de 8mm para fixar a haste de suporte à alavanca de servo maior.

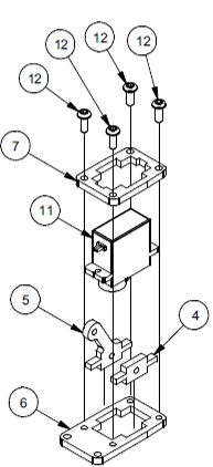
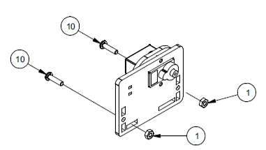
Lateral Direita

Peças:
  1. Lateral direita;
  2. Retenção;
  3. Alavanca central direita;
  4. Haste de suporte;
  5. Servo;
  6. Alavanca do servo;
  7. Parafuso curto do servo;
  8. Parafuso longo do servo;
  9.  3x Parafusos de 8mm;
  10. 2x Parafusos de 12mm;
  11. 2x Porcas.
Passo a Passo:
Passo 1-3
  1. Coloque o servo (3) no retentor (2);
  2. Encaixe o servo à lateral direita (10);
  3. Insira os parafusos de 8mm (4) pela parte de baixo do retentor;

*Atenção à orientação das peças!

Passo 4
Passo 5
  1. Insira os parafusos de 12mm (8) nos furos da lateral esquerda como mostrado na imagem e rosqueie as porcas (1) parcialmente;
  2.  Encaixe a alavanca do servo (7) na alavanca central direita (9) e fixe com o parafuso longo do servo (12);
Passo 6
Passo 7
  1. Conecte esse conjunto ao servo na posição da foto e assegure o com o parafuso curto do servo;
  2. Parafuse a haste de suporte ao furo na elevação da Lateral direita.

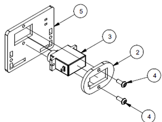
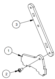
Cabine

Peças:
  1. Base da Cabine;
  2. Alavanca central Esquerda;
  3. Suporte da alavanca;
  4. Suporte da cabine;
  5. Frente e Traseira da Cabine;
  6. Alavanca longa do servo;
  7. Parafuso curto de servo;
  8. 2x Parafusos longos de servo;
  9.  1x Parafusos de 8mm;
  10. 2x Parafusos de 12mm;
  11. 2x Porcas.
Passo a Passo:
Passo 1
Passo 2
Passo 3
  1. Junte o suporte da alavanca(1) à alavanca central esquerda (3) com um parafuso de 8mm (2);
  2. Encaixe a alavanca longa do servo (5) à base da cabine (4) com 2 parafusos longos do servo (6) como mostrado na imagem;
  3. Fixe esse conjunto feito no passo anterior ao servo da base com o parafuso curto do servo;
Passo 4
Passo 5
  1. Encaixe a frente e traseira da cabine (3) às porcas da lateral esquerda;
  2. Encaixe o conjunto de suporte de alavanca e alavanca central esquerda à esse feito no passo anterior e então aperte os parafusos das porcas;
Passo 6
Passo 7
  1. Una a base da cabine ao conjunto feito no passo anterior;
  2.  Encaixe o corpo da alavanca (4) à alavanca central esquerda e fixe com um parafuso de 12mm (2) e uma porca (1);
Passo 8
  1. Junte a lateral direita ao conjunto feito no passo anterior com o parafuso de 12mm (2) e a porca (1).

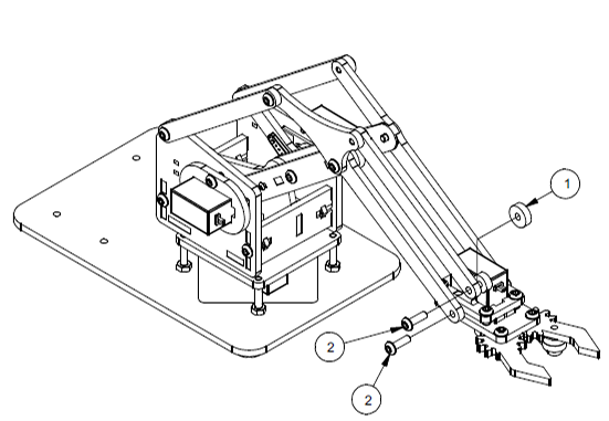
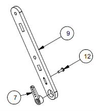
Braço

Peças:
  1. Suporte triangular;
  2. Braço maior;
  3. Braço menor;
  4. Haste de suporte;
  5. Espaçador;
  6. 3x Parafusos de 8mm;
  7. 2x Parafusos de 10mm.
Passo a Passo:
Passo 1
  1. Conecte o braço maior (3) à haste de suporte da lateral esquerda e à alavanca central esquerda com parafusos de 8mm (1);
Passo 2-4
  1. Conecte o suporte triangular (3) à haste de suporte da lateral direita com um espaçador (5) entre eles usando um parafuso de 12mm (6);
  2. Conecte a alavanca central direita ao braço menor (4) e suporte triangular (3) com outro parafuso de 10mm (6);
  3. Encaixe a haste de suporte (1) ao suporte triangular (3) com o terceiro parafuso de 8mm (2).

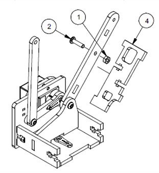
Garra

Peças:
  1. Retenção da Garra;
  2. Alavanca de servo menor;
  3. Encaixe da garra;
  4. Encaixe com suporte da garra;
  5. Haste menor;
  6. Garra esquerda;
  7. Garra direita;
  8. Base da garra;
  9. 3x Espaçadores;
  10.  3x Parafusos de 8mm;
  11.  7x Parafusos de 10mm;
  12.  1x Parafusos de 12mm;
Passo a Passo:
Passo 1-4
  1. Coloque o servo (11) na retenção da garra (7);
  2. Insira na retenção (7) junto ao servo (11) os encaixes (5)(4) como mostrado na figura;
*Atenção à ordem e orientação dos encaixes e do servo. E também ao alinhamento dos parafusos aos limites da placa de mdf.
  1. Coloque este conjunto na base da garra (6);
  2. Fixe tudo com 4 parafusos de 10mm (12).
Passo 5
Passo 6-7
  1. Encaixe as garras direita (2) e esquerda (1) com dois parafusos de 8mm (13);
  2.  Una a alavanca de servo menor (8) com a alavanca do servo (10) com um parafuso longo do servo;
  3. No final da alavanca (8) fixe a haste menor (3) com um parafuso de 8mm (13);
Passo 8
Passo 9
  1. Depois com o parafuso de 12mm (15), junte dois espaçadores (16), a haste menor e a garra esquerda;
  1. Fixe o conjunto construído no passo anterior ao servo com o parafuso menor do servo (9);
*Atenção: Ao parafusar essas partes juntas, faça com a garra fechada.
Passo 10
Passo 11
  1. Fixe a garra completa ao braço com dois parafusos de 10mm(2) e um espaçador (1) entre o encaixe e a haste de suporte;
  1. Por fim, parafuse o braço maior à garra com o último parafuso de 10mm (2).

Conexões

Os servos possuem 3 fios cada. 

  • Marrom: Neutro; 
  • Vermelho: Alimentação;
  • Amarelo: Sinal.
Conecte os servos da seguinte forma a sua placa arduino:

Recomendamos o uso da placa nano com shield, onde as conexões ficam da seguinte forma:

Programação

Após a montagem e conexões do circuito elétrico do projeto, vamos a programação. Caso não possua a IDE do arduino instalada, acesse esse tutorial. Este projeto visa comandar o braço de duas formas, com o joystick ou com pontos predeterminados.

  1. Acesse o github: https://github.com/Efraal/meArm/tree/main/
  2. Escolha um dos 4 códigos:
    1. Cinemática direta:
      • Faz o controle diretamente pelos ângulos dos servos;
      • Na matriz frame[][], altere os ângulos dos servos em cada etapa na seguinte ordem:
				
					const float frame[][] = {  //cria um roteiro com as coordenadas da garra em cada frame.
  {base, braço, antebraço, garra}
  };
				
			
      • Os ângulos devem estar dentro dos seguintes parâmetros:
        Base: 0-180 (Esquerda: 180);
        Braço: 50-140 (Frente: 140);
        Antebraço: 30-100 (Alto: 100);
        Garra: 0-1 (0: Fechada).
    1. Cinemática Inversa:
      • De forma análoga ao código anterior ele é controlado por porntos predeterminados, porém dessa vez ele é definido em milímetros à partir da base;
				
					const float frame[][] = {  //cria um roteiro com as coordenadas da garra em cada frame.
  {x, y, z, garra}
  };
				
			
      • Os eixos são:
        X: Frente(+);
        Y: Esquerda(+) e Direita(-);
        Z: Cima(+);
        Garra: 0-1 (0: Fechada).
      • Nem o eixo X nem o eixo Z devem ficar menores que 20.
      •  Sugiro que meça os pontos movendo o braço com o microcontrolador desconectado para um controle mais preciso.
    1. Cinemática Direta Joystick:
      • Conecte 2 joysticks ao arduino da seguinte forma:
        Joystick 1 Eixo X: A0;
        Joystick 1 Eixo Y: A1;
        Joystick 2 Eixo X: A2;
        Joystick 2 Eixo Y: A3.
      • O joystick 1 controlará os ângulos dos servo da base e do braço enquanto o 2 controlará do antebraço e da garra.
    2. Cinemática Inversa Joystick:
      • Conecte da mesma forma os joysticks;
      • O joystick 1 controlará o movimento nos eixos x(Frente) e y(Esquerda/Direita), enquanto o 2 controlará o eixo Z e a garra.

Conclusão

O braço robótico é uma excelente porta de entrada para a robótica em geral, tendo diversas aplicações e aprendizados úteis nas mais diversas áreas. Ele tem uma montagem simples, preço acessível e é ótimo para despertar a curiosidade em crianças e adolescentes.